Số Duyệt:0 CỦA:Nhà cung cấp cùm thép không gỉ đăng: 2025-05-15 Nguồn:stainless steel shackle manufacturer
Clecle, nó là một loại giàn khoan.
Xếp xích thường được sử dụng ở thị trường nội địa thường được chia thành ba loại theo tiêu chuẩn sản xuất: Tiêu chuẩn quốc gia, Tiêu chuẩn Mỹ và Tiêu chuẩn Nhật Bản; Trong số đó, tiêu chuẩn của Mỹ được sử dụng phổ biến nhất, vì kích thước nhỏ và trọng lượng chịu tải lớn của nó.
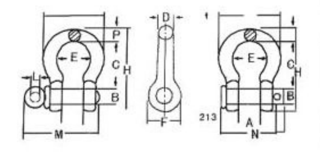
Theo loại, nó có thể được chia thành cái cùm hình dây đai hình nơ hình nơ (hình omega) và cái cùm hình dây đai hình chữ D hình chữ D (hình chữ U hoặc thẳng); Theo nơi sử dụng, nó có thể được chia thành hai loại: sử dụng biển và đất.
Theo các vật liệu, nó có thể được chia thành cùm thép carbon, cùm thép hợp kim, cùm thép không gỉ, cùm hợp kim titan




Chào mừng liên hệ với chúng tôi để mua xiềng xích thép không gỉ